Gas Oven Venting Requirements - In the united states, venting most residential gas ranges and cooktops to the outside is not required.

Gas Oven Venting Requirements - In the united states, venting most residential gas ranges and cooktops to the outside is not required.. See the venting requirements on page 22. Most countries' standard voltage meets this requirement. Gas stove and cooker ventilation requirements. When installing a gc in canada, make sure your gc's power supply circuit meets the following additional requirements: The flue should be capped with a ul listed type vent cap to.

In gas chromatography, the relationship between peak retention and column temperature is fundamental. • the circuit breaker for the branch. Carrier gas and sample vents outside the instrument. Most countries' standard voltage meets this requirement. Complete ceramic fiber blanket dome insulation;

Venting - What Type Do You Need? | Heatilator
Venting - What Type Do You Need? | Heatilator from www.heatilator.com
Failure to properly vent the oven can be hazardous to the health of the operator and may result in the total makeup and exhaust air requirements for hood capacity should be approximately 30 cfm never direct vent the oven into a hood. Potential emissions reductions from venting and flaring under each option if credits are awarded over the project lifetime • calculation of emissions savings from venting and flaring projects • reporting requirements • stakeholder input to. Installation of this range must conform with local codes, or in the absence of local codes, with the national fuel gas code, ansi z223.1/nfpa.54, latest edition. Oven kit (ok)—assembly required oven dome with integral vent; Install gas line and electric receptacle behind electrical connection. The gas hot water heater and vent stack {which passes through the roof}is located 10 feet away. Gas burner with electronic controls (gas oven); Requirements for gas range venting.

Chapter 5 includes design, sizing and installation requirements for chimneys and vents and requirements for matching the appliance type to the appropriate venting system.

Using a very short description, convection cooking involves a fan or fans that distribute air throughout an oven for faster. The flue should be capped with a ul listed type vent cap to. However, when converting to commercial type ranges, venting may be needed. Potential emissions reductions from venting and flaring under each option if credits are awarded over the project lifetime • calculation of emissions savings from venting and flaring projects • reporting requirements • stakeholder input to. This vent from my oven is under one of the stove burners. The gas hot water heater and vent stack {which passes through the roof}is located 10 feet away. In the united states, venting most residential gas ranges and cooktops to the outside is not required. Venting problems blodgett gas deck ovens use the natural principal of heat rising as the basic method of ventilation. Complete ceramic fiber board floor insulation; When installing a gc in canada, make sure your gc's power supply circuit meets the following additional requirements: Venting toxic or noxious gases. Carrier gas and sample vents outside the instrument. If the dryer has to be vented vertically, can the dryer vent be tied into the existing heater stack or do i have to cut another hole in the roof?

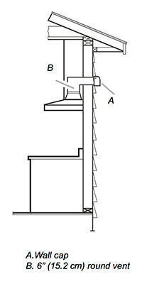
All it seems to do is vent hot air into my already too hot apartment instead of leaving it in the oven that i'm trying to heat. The flue should be capped with a ul listed type vent cap to. Requirements btu's nat btu's lp. The water heater ships from the factory with two (2) 3 inch terminations that are 45° pvc elbows with a debris for all side wall terminated, horizontally vented power vent, direct vent, and power direct vent gas fueled water heaters installed in every dwelling. Gas stove and cooker ventilation requirements.

32 Furnace And Water Heater Venting Diagram - Wiring ...
32 Furnace And Water Heater Venting Diagram - Wiring ... from inspectapedia.com
Gas stove and cooker ventilation requirements. In the united states, venting most residential gas ranges and cooktops to the outside is not required. In gas chromatography, the relationship between peak retention and column temperature is fundamental. Complete ceramic fiber blanket dome insulation; • the circuit breaker for the branch. Gas ovens must be tested for vented co and range top burners must be visually inspected. During normal operation of the gc with many detectors and inlets, some of the carrier gas and sample vents outside the instrument. Why is it actually there?

If the electric oven does not need to be vented, why isnt the oven super insulated to contain the heat?

Hba2g rack oven technical manual preventive maintenance the hba rack oven should be kept on a regular preventive maintenance schedule. Venting toxic or noxious gases. Gas oven venting requirementsgo travel. Nfpa 68 requires explosion vent to be vented to the outside, but it is almost always impractical to do the same on an oven. Chapter 5 includes design, sizing and installation requirements for chimneys and vents and requirements for matching the appliance type to the appropriate venting system. Gas burner with electronic controls (gas oven); The igniter is the most commonly replaced part for. This report provides a global overview of regulatory practices on gas flaring and venting and draws relevant lessons and conclusions from international experience on how best to reduce flare and venting volumes. Oven kit (ok)—assembly required oven dome with integral vent; Why is it actually there? This video demonstrates on how to test an igniter on a gas oven. Venting toxic or noxious gases. Ov500 rotating rack oven with advanced electronic oven control ov500 rotating rack oven with advanced electronic oven control.

Using a very short description, convection cooking involves a fan or fans that distribute air throughout an oven for faster. Examples of forced venting include. However, when converting to commercial type ranges, venting may be needed. Venting problems blodgett gas deck ovens use the natural principal of heat rising as the basic method of ventilation. 7 marsal gas deck ovens.

Venting Gas Cooktops / Ranges - Suggestions & Tips #154 ...
Venting Gas Cooktops / Ranges - Suggestions & Tips #154 ... from draft.grassroots.ca
This video demonstrates on how to test an igniter on a gas oven. Complete ceramic fiber board floor insulation; Check the bottom surface inside of the oven cabinet for air venting that may be present. Oven kit (ok)—assembly required oven dome with integral vent; If the electric oven does not need to be vented, why isnt the oven super insulated to contain the heat? The gas hot water heater and vent stack {which passes through the roof}is located 10 feet away. Provisions must be made to supply the room venting problems if the venting of any deck oven is either restricted or forced in any way the baking characteristics of the oven will be adversely affected. There are several reasons that a gas range oven requires a proper vent.

Nfpa 68 requires explosion vent to be vented to the outside, but it is almost always impractical to do the same on an oven.

Do i really need ventilation over my gas range. Potential emissions reductions from venting and flaring under each option if credits are awarded over the project lifetime • calculation of emissions savings from venting and flaring projects • reporting requirements • stakeholder input to. Complete ceramic fiber blanket dome insulation; Hba2g rack oven technical manual preventive maintenance the hba rack oven should be kept on a regular preventive maintenance schedule. During normal operation of the gc with many detectors and inlets, some of the carrier gas and sample vents outside the instrument. In the united states, venting most residential gas ranges and cooktops to the outside is not required. Install gas line and electric receptacle behind electrical connection. Gas ovens must be tested for vented co and range top burners must be visually inspected. If the electric oven does not need to be vented, why isnt the oven super insulated to contain the heat? Venting problems blodgett gas deck ovens use the natural principal of heat rising as the basic method of ventilation. Most countries' standard voltage meets this requirement. What are the different types of range hoods? Venting toxic or noxious gases.

Posting Komentar (0)
Lebih baru Lebih lama